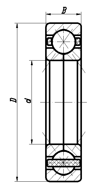
三点、四点接触球轴承是径向单列角接触球轴承,特殊设计的滚道使其能承受作用在两个方向的轴向负荷。这种轴承所占的轴向空间比双列角接触球轴承更小。该类轴承主要应用在承受轴向负荷的场合。轴承是分离型的设计,即外圈连钢球、保持架组件和两剖分的内圈可以分别独立安装。
| 加工尺寸范围 | 内径Φ15~Φ50mm,外径Φ30~Φ120 |
| 精度等级 | P0~P6级 |
| 振动等级 | ZV1 |
| 使用温度 | -30~200℃ |
| 接触角 | -- |


| 序号 | 型号 | 内径d | 外径D | 宽度B | 额定载荷 | 极限转速(r/min) | |
| 动载荷Cr(KN) | 静载荷Cor(KN) | ||||||
| 1 | QJ203 | 17 | 40 | 12 | 15.9 | 10.6 | 15000 |
| 2 | QJ205 | 25 | 52 | 15 | 25.1 | 20 | 14000 |
| 3 | QJ206 | 30 | 62 | 16 | 35.1 | 28.5 | 13000 |
| 4 | QJ207 | 35 | 72 | 17 | 46.2 | 39 | 12000 |
| 5 | QJ208 | 40 | 80 | 18 | 52.7 | 45 | 11000 |
| 6 | QJ209 | 45 | 85 | 19 | 58.5 | 51 | 10000 |
| 7 | QJ210 | 50 | 90 | 20 | 61.8 | 56 | 9000 |
| 8 | QJ303 | 17 | 47 | 14 | 23.4 | 15 | 13000 |
| 9 | QJ305 | 25 | 62 | 17 | 30 | 28 | 11000 |
| 10 | QJ306 | 30 | 72 | 19 | 49.4 | 38 | 10000 |
| 11 | QJ307 | 35 | 80 | 21 | 59.2 | 46.5 | 9000 |
| 12 | QJ308 | 40 | 90 | 23 | 71.5 | 58.5 | 8000 |
| 13 | QJ309 | 45 | 100 | 25 | 93.6 | 76.5 | 7000 |
| 14 | QJ310 | 50 | 110 | 27 | 111 | 91.5 | 6000 |